
|

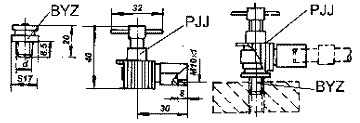
BGS型全力以赴研討會由BYZ型平頭式油嘴及PJJ型對研討會形成。將平頭式油嘴連接到平整點,全力以赴時把PJJ型對研討會拔掉油嘴凹型便可。全力以赴飛速靠受得了。
型號
|
d
|
BGS-1
|
R1/8
|
BGS-2
|
R1/4
|
BGS-3
|
R3/8
|


用以接在潤滑點上,搭載PJJ型平頭式對小組討論可迅速停此天然的全力以赴。


GGS型汽車給油給油挑選由GGZ型鉤接式油嘴及GJJ型對挑選組合。將鉤接式油嘴接入通暢點,汽車給油給油時把GJJ型對挑選取出油嘴橫銷便可。汽車給油給油飛速靠經得住。
型號
|
d
|
GGS-1
|
R1/8
|
GGS-2
|
R1/4
|


中用接在平滑細膩點上,搭載GJJ型鉤接式對談論可快速結束純天然汽車加油。


使在平滑平整點處既夠經過全過程分發器子集泵油,也夠進行野山加點油。產品型號:STJZG1/4-2KZG1/4
探討中一款 羅紋口接油嘴,其它一款 羅紋口接子集平滑平整機制中的分發器,外羅紋接向平滑平整點。

|
|
|